Patent

Registered APPARATUS FOR COLLECTING LIFELOG DATA AND METHOD THEREOF

라이프로그 데이터를 수집하기 위한 장치 및 그 방법
Inventors
Kang Kyu Chang, Heoseonguk, Kwon Yongjin, Chang Seok Bae
Application No.
13735486 (2013.01.07)
Publication No.
20140122541 (2014.05.01)
Registration No.
9053214 (2015.06.09)
Country
UNITED STATES
Project Code
12SS1100, Connected Self: 라이프로그 정보와 스트림형 데이터 마이닝을 통한 건강 모니터링, Chang Seok Bae
Abstract
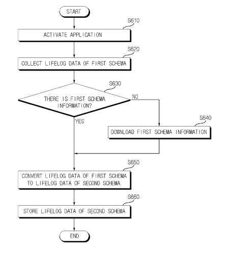
Disclosed are an apparatus for collecting lifelog data and a method thereof according to the present invention.The present invention relates to an apparatus for collecting lifelog data and a method thereof, which collect information for analyzing a behavior pattern from devices used by a user in everyday life, convert the collected information according to a preset schema, and provide the converted information.
KSP Keywords
Behavior pattern, Lifelog data, everyday life
Family
 
패밀리 특허 목록
Status Patent Country KIPRIS
Registered 라이프로그 데이터를 수집하기 위한 장치 및 그 방법 KOREA