Patent

Registered 광 시분할 다중화 기반 광송신기

광 시분할 다중화 기반 광송신기
Inventors
유상화, 허준영, 강세경, 이준기
Application No.
10-2021-0126955 (2021.09.27) KIPRIS
Publication No.
10-2022-0150809 (2022.11.11)
Registration No.
10-2557191-0000 (2023.07.14)
Country
KOREA
Project Code
21HH5900, Development of On-Time·On-Rate Wireless Access and Optical Edge Cloud Networking Technologies for High-Precision Services, Lee Jun Ki
Abstract
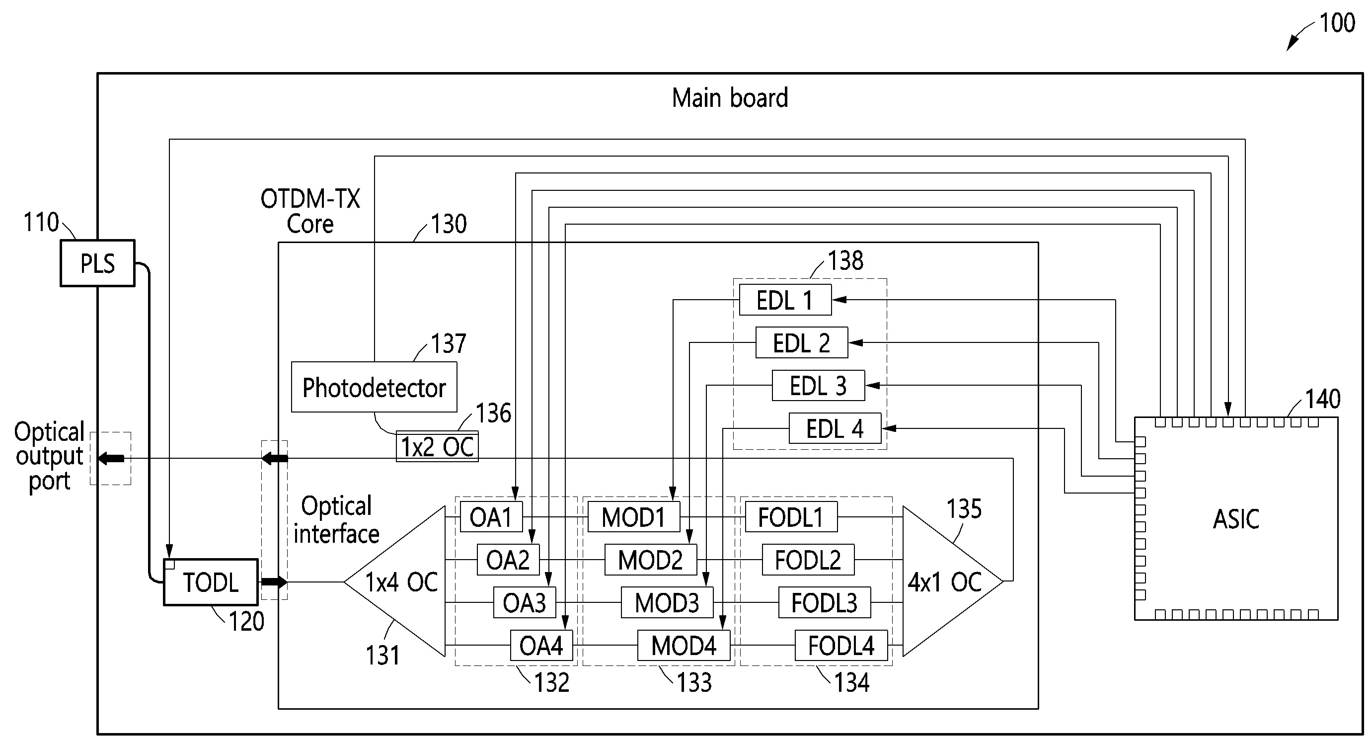
광 시분할 다중화 기반 광송신기가 개시된다. 광송신기는 일정한 펄스 주기를 갖는 광신호의 위상을 조절하는 가변 광신호 시간지연선로; 상기 위상이 조절된 광신호를 복수 채널의 광신호로 분배하여 출력하는 입력 커플러; 상기 분배된 복수 채널의 광신호들 각각을 전기신호를 이용하여 멀티레벨의 광신호로 광변조하는 광변조기; 상기 멀티레벨의 광신호로 광변조된 복수 채널의 광신호들 각각에 대해 미리 설정된 시간 지연을 수행하는 고정 광신호 시간지연선로; 상기 시간 지연이 수행된 복수 채널의 광신호들을 OTDM(Optical Time Division Multiplexing) 신호로 광다중화하는 출력 커플러; 및 상기 광다중화된 OTDM 신호의 일부에 대한 비트 오류율(Bit Error Rate, BER)을 이용하여 상기 광변조기에 입력되는 광신호 및 전기신호 사이의 위상을 일치시키는 집적회로를 포함할 수 있다.
KSP Keywords
Bit Error rate, Bit error, Optical time division multiplexing(OTDM), Time division multiplexing, division multiplexing, error rate, optical transmitter, time division
Family
 
패밀리 특허 목록
Status Patent Country KIPRIS
Registered OPTICAL TRANSMITTER BASED ON OPTICAL TIME DIVISION MULTIPLEXING UNITED STATES