Patent

Registered 반도체 소자 및 이의 제조방법

반도체 소자 및 이의 제조방법
Inventors
이성현, 서동우, 김상훈, 박정우, 노태문
Application No.
10-2021-0169052 (2021.11.30) KIPRIS
Publication No.
10-2022-0152913 (2022.11.17)
Registration No.
10-2537599-0000 (2023.05.23)
Country
KOREA
Project Code
21JB2900, Development of the core technology of bulk-CMOS based reconfigurable FET, Suh Dongwoo
Abstract
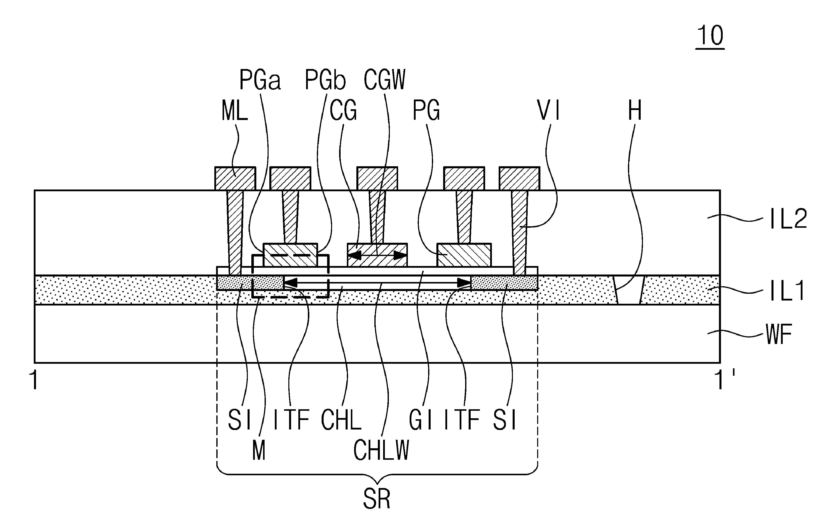
본 발명은 반도체 기판, 상기 반도체 기판은 단결정 실리콘 또는 다결정 실리콘을 포함하고, 상기 반도체 기판 상의 제1 절연층, 상기 제1 절연층은 상면의 일부가 리세스된 국부 영역을 포함하고, 상기 제1 절연층의 상기 국부 영역 상에 제공되는 채널 층, 상기 채널 층의 일 측면 상에 제공되는 실리사이드, 상기 채널 층 상에 제공되는 제어 게이트, 상기 채널 층과 상기 제어 게이트 사이에 제공되는 게이트 절연막, 및 상기 채널 층과 상기 실리사이드 사이의 계면에 중첩되도록 배치된 극성 컨트롤 게이트를 포함하되, 상기 극성 컨트롤 게이트는 상기 제어 게이트로부터 이격되고, 상기 채널 층은 단결정 실리콘을 포함하는 반도체 소자를 제공한다.
Family
 
패밀리 특허 목록
Status Patent Country KIPRIS
Registered SEMICONDUCTOR AND METHOD OF MANUFACTURING THE SAME UNITED STATES