Patent

Registered 슬라이싱 기능을 지원하는 ONU의 전원 관리 방법 및 장치

슬라이싱 기능을 지원하는 ONU의 전원 관리 방법 및 장치
Inventors
김광옥, 정환석, 두경환
Application No.
10-2021-0161898 (2021.11.23) KIPRIS
Publication No.
10-2023-0075581 (2023.05.31)
Registration No.
10-2644304-0000 (2024.02.29)
Country
KOREA
Project Code
21HH6200, B5G High Speed Optical Access and Slicing, Chung Hwan Seok
Abstract
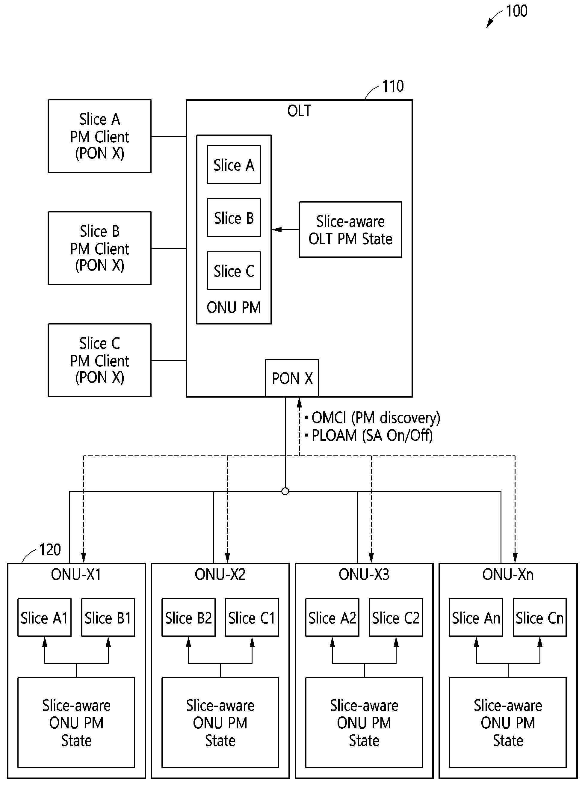
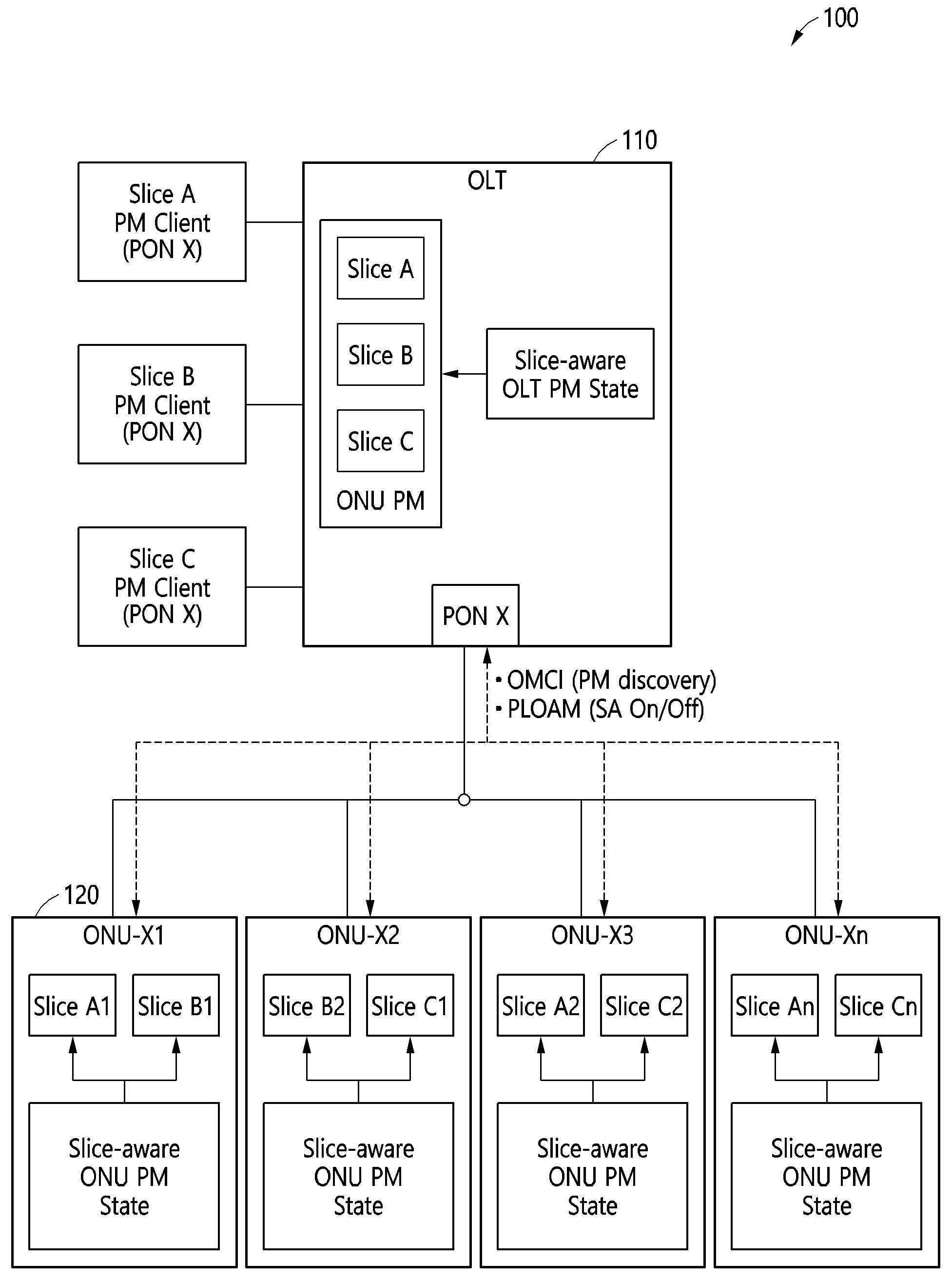
슬라이싱 기능을 지원하는 ONU의 전원 관리 방법 및 장치가 개시된다. 슬라이싱 기능을 지원하는 ONU의 전원 관리 장치가 수행하는 전원 관리 방법은 OLT(Optical Line Terminal)로부터 적어도 하나 이상의 슬라이스를 포함하는 ONU의 전원 관리 속성을 발견하기 위한 제1 메시지를 수신하는 단계; 상기 수신된 제1 메시지에 대응하여 상기 ONU의 전원 관리 속성을 포함하는 제2 메시지를 상기 OLT로 송신하는 단계; 상기 OLT로부터 상기 ONU에 포함된 슬라이스 별 전원 관리 파라미터를 설정하기 위한 제3 메시지를 수신하는 단계; 상기 수신된 제3 메시지에 기초하여 상기 ONU에 포함된 슬라이스 별로 전원 관리 파라미터를 설정하는 단계; 및 상기 ONU에 포함된 슬라이스 별 전원 관리 파라미터의 설정 결과를 포함하는 제4 메시지를 상기 OLT로 송신하는 단계를 포함하고, 상기 전원 관리 장치는 상기 제3 메시지에 포함된 식별자를 슬라이스 분류기(Slice Parser)를 통해 식별하여 해당하는 슬라이스 별로 전원 관리 파라미터를 설정할 수 있다.
KSP Keywords
Optical Line Terminal, power management
Family
 
패밀리 특허 목록
Status Patent Country KIPRIS
Registered POWER MANAGEMENT METHODAND APPARATUS OF ONU SUPPORTING SLICING FUNCTION UNITED STATES