ETRI-Knowledge Sharing Plaform

KOREAN
특허 검색
Status Country
Year ~ Keyword

Detail

Registered 의료 데이터 접근 관리를 위한 장치 및 방법

의료 데이터 접근 관리를 위한 장치 및 방법
이미지 확대
Inventors
원희선, 한지우
Application No.
10-2021-0045202 (2021.04.07) KIPRIS
Publication No.
10-2022-0081870 (2022.06.16)
Registration No.
10-2627705-0000 (2024.01.17)
Country
KOREA
Project Code
19PS3200, PARTNER: Patient-care Advancement with Responsive Technologies aNd Engagement togetheR , Hee Sun Won
Abstract
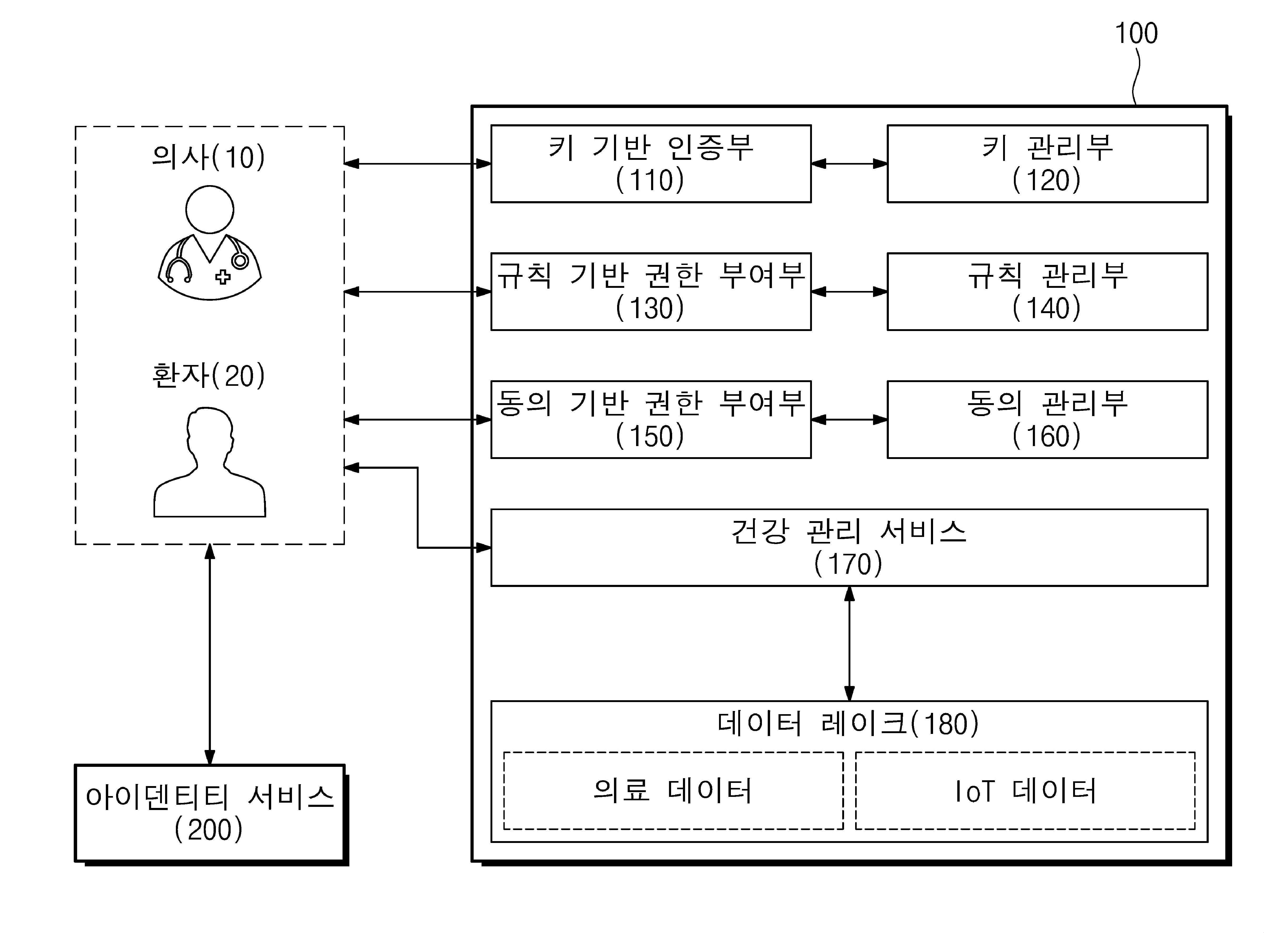
본 개시는 데이터의 관리 및 수집에 관한 것으로, 좀 더 상세하게는 의료 데이터 접근 관리를 위한 장치 및 방법에 관한 것이다. 본 개시의 실시 예에 따른 의료 데이터 접근 관리를 위한 장치는 사용자가 부여 받은 접근 키에 기반하여 파싱된 접근 키를 생성하는 키 기반 인증부, 상기 파싱된 접근 키가 유효한지 여부를 판단하는 키 관리부, 상기 사용자의 데이터 접근과 관련된 규칙에 기반하여 데이터 접근 권한을 부여하는 규칙 기반 권한 부여부, 상기 사용자의 데이터 접근 요청이 상기 규칙에 부합하는지 여부를 판단하는 규칙 관리부, 상기 사용자의 데이터 접근에 대한 동의에 기반하여 데이터 접근 권한을 부여하는 동의 기반 권한 부여부, 상기 동의가 유효한지 여부를 판단하는 동의 관리부, 및 상기 사용자가 요청한 데이터를 제공 받아 상기 사용자에게 전송하는 건강 관리 서비스를 포함한다.
KSP Keywords
medical data