ETRI-Knowledge Sharing Plaform

KOREAN
특허 검색
Status Country
Year ~ Keyword

Detail

Registered 다층 바이오센서칩 및 이를 이용하는 바이오마커 측정장치

다층 바이오센서칩 및 이를 이용하는 바이오마커 측정장치
이미지 확대
Inventors
류진화, 유한영, 이봉국, 백인복, 김대회
Application No.
10-2021-0066376 (2021.05.24) KIPRIS
Publication No.
10-2022-0158491 (2022.12.01)
Registration No.
10-2585166-0000 (2023.09.26)
Country
KOREA
Project Code
21HU1200, Development of ICT based Intelligent Smart Welfare Housing System for the Prevention and Control of Livestock Disease, Se Han Kim
Abstract
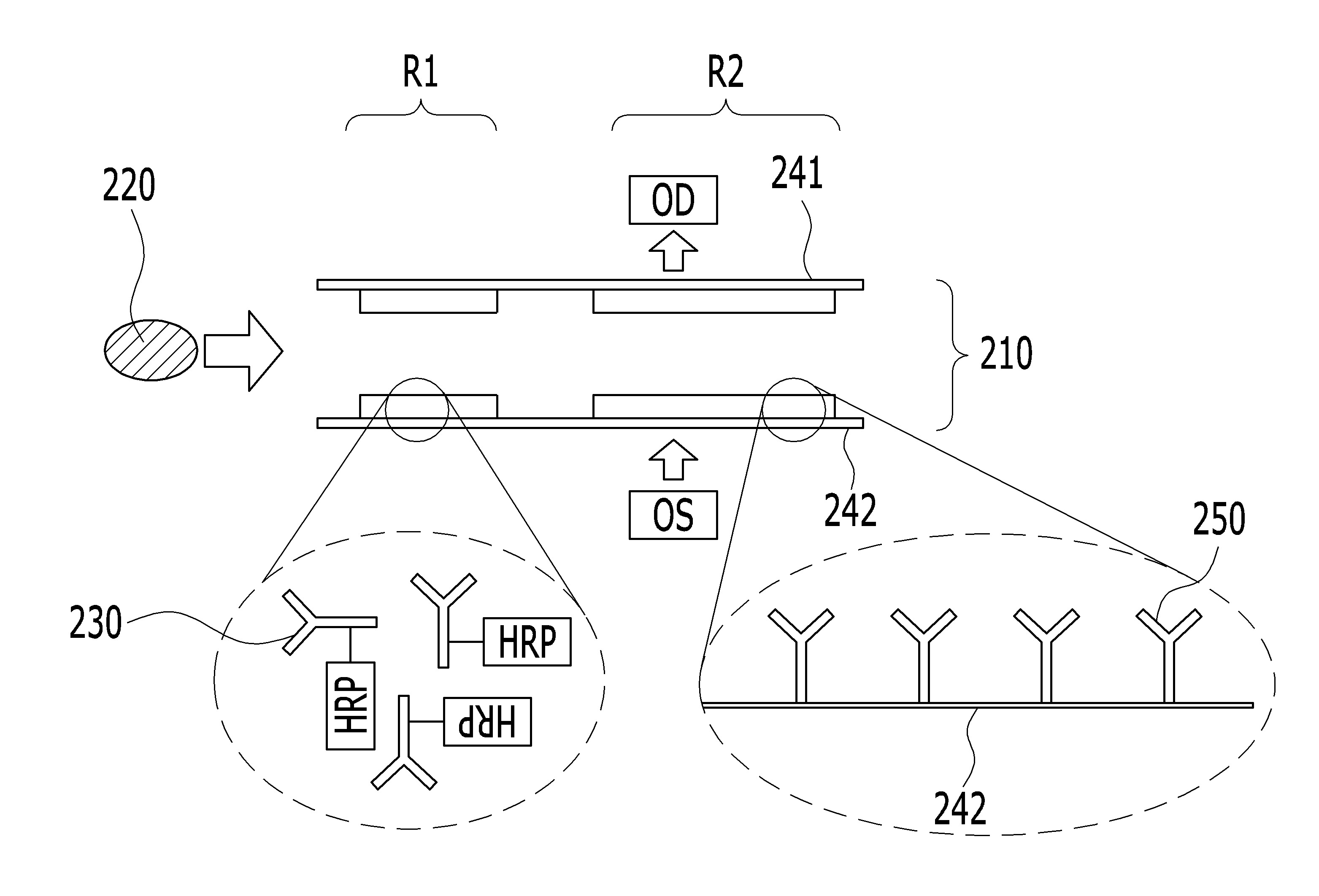
타액 등에 포함된 다종의 표적 물질(바이오마커)의 동시 측정 또는 1종의 표적물질(바이오마커)에 대한 N개 샘플 동시 측정이 가능하고, 센서 결과의 신뢰성 및 고 민감성이 확보된 바이오센서 기술에 관한 발명이다. 표적물질(바이오마커)의 검출이 가능한 복수개의 플루이딕 채널을 하나의 평판 센서칩에 내장하고, 평판 구조의 센서칩을 발광소자(광원)와 수광소자로 측정하는 플루이딕 채널 기반의 평면 구조 바이오센서칩, 그리고 이를 이용하는 바이오마커 측정장치가 제공된다.
KSP Keywords
measuring apparatus
Family
 
패밀리 특허 목록
Status Patent Country KIPRIS
Registered MULTI-LAYERED BIOSENSOR CHIP AND BIOMARKER MEASURING APPARATUS USING THE SAME UNITED STATES