ETRI-Knowledge Sharing Plaform

KOREAN
특허 검색
Status Country
Year ~ Keyword

Detail

Registered 초분광 센서, 이를 포함하는 초분광 이미징 시스템 및 이를 이용한 초분광 이미징 방법

초분광 센서, 이를 포함하는 초분광 이미징 시스템 및 이를 이용한 초분광 이미징 방법
이미지 확대
Inventors
송정호, 권용환, 김성복, 김기수, 김성일, 심재식, 오광룡, 김동선
Application No.
10-2022-0014120 (2022.02.03) KIPRIS
Publication No.
10-2022-0131825 (2022.09.29)
Registration No.
10-2656562-0000 (2024.04.05)
Country
KOREA
Project Code
21HB1300, Space-time complex artificial intelligence blue-green algae prediction technology based on direct-readable water quality complex sensor and hyperspect, Kwon Yong-Hwan
Abstract
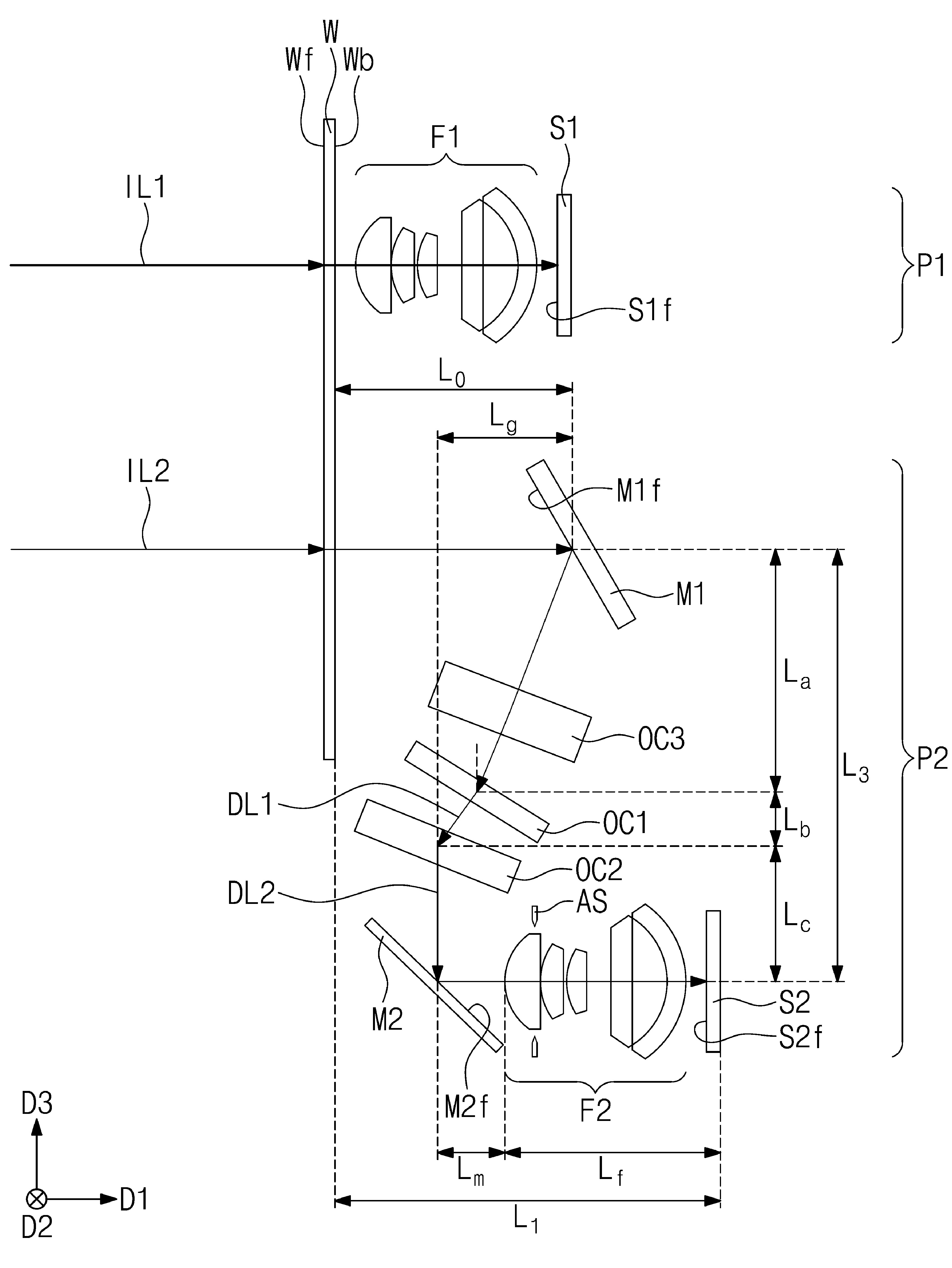
본 발명은 윈도우, 상기 윈도우의 후면 상에 제공되며, 복수의 렌즈들을 포함하는 제1 집속부, 상기 제1 집속부의 후면 상에 제공되며, 상기 윈도우의 상기 후면과 나란한 전면을 갖는 제1 이미지 센서, 상기 제1 집속부 및 상기 제1 이미지 센서와 이격되며, 상기 윈도우의 상기 후면에 대하여 기울어진 전면을 갖는 제1 미러, 상기 제1 미러와 이격되는 제1 광 소자, 상기 제1 광 소자와 이격되며, 내부의 주기적인 굴절률 분포를 갖는 제2 광 소자, 상기 제2 광 소자와 이격되며, 복수의 렌즈들을 포함하는 제2 집속부, 및 상기 제2 집속부의 후면 상에 제공되는 제2 이미지 센서를 포함하는 초분광 센서, 이를 포함하는 초분광 이미징 시스템 및 이를 이용한 초분광 이미징 방법을 제공한다.
KSP Keywords
Hyperspectral imaging(HIS), Hyperspectral imaging system, Hyperspectral sensor, Imaging method, imaging system
Family
 
패밀리 특허 목록
Status Patent Country KIPRIS
Registered HYPERSPECTRAL SENSOR, HYPERSPECTRAL IMAGING SYSTEM INCLUDING THE SENSOR, AND HYPERSPECTRAL IMAGING METHOD USING THE SYSTEM UNITED STATES