ETRI-Knowledge Sharing Plaform

KOREAN
특허 검색
Status Country
Year ~ Keyword

Detail

Registered 원격 프로비저닝을 위한 온보딩 절차를 수행하는 장치 및 방법

원격 프로비저닝을 위한 온보딩 절차를 수행하는 장치 및 방법
이미지 확대
Inventors
성지훈, 이수환, 신명기
Application No.
10-2022-0056609 (2022.05.09) KIPRIS
Publication No.
10-2022-0152948 (2022.11.17)
Registration No.
10-2659342-0000 (2024.04.16)
Country
KOREA
Project Code
21HR1700, Standards development of 5G non-public network technology for vertical industry, Shin Myung Ki
Abstract
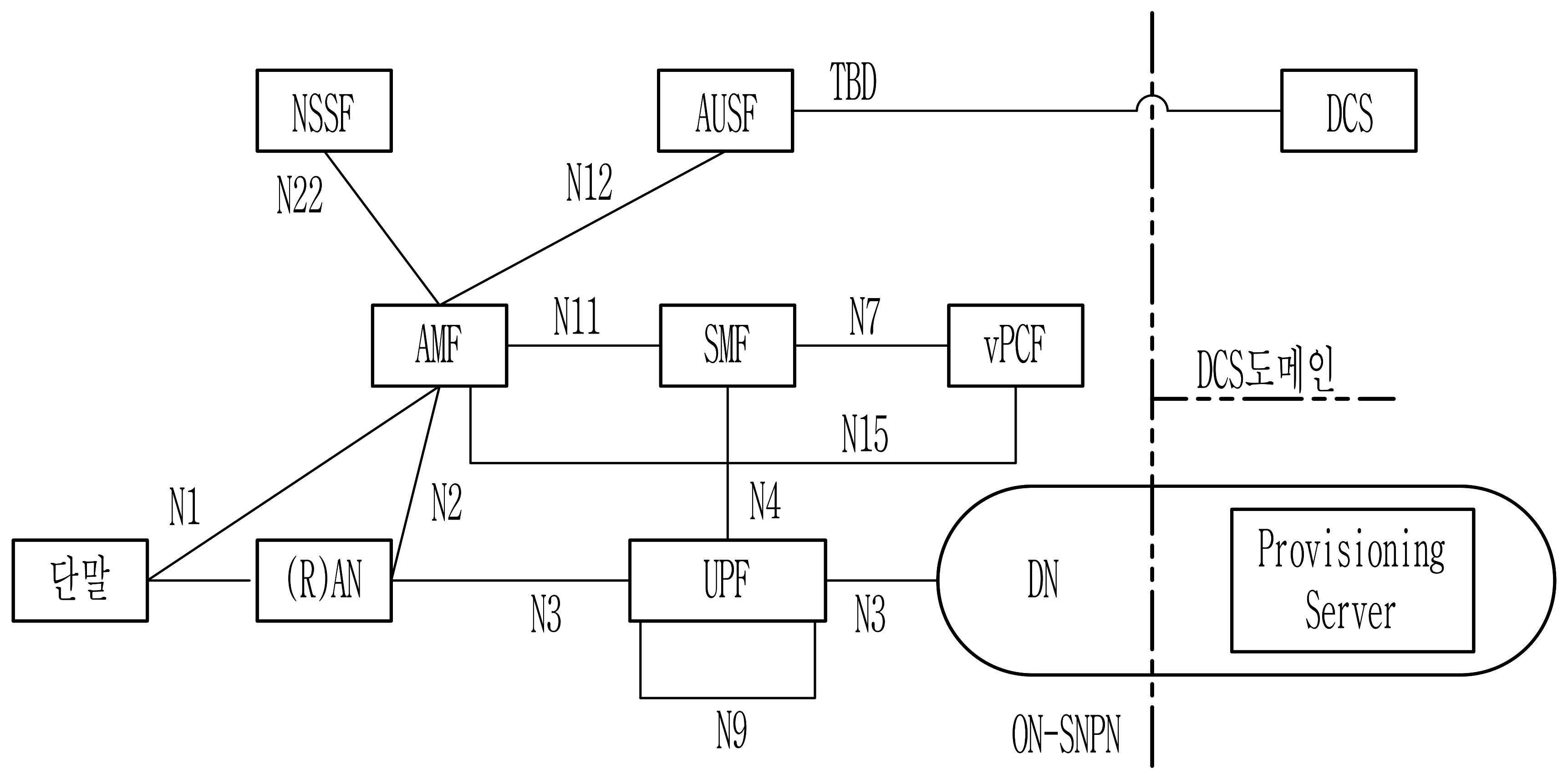
적어도 하나의 온보딩 네트워크로부터 온보딩 능력 지시를 수신하는 단계, 온보딩 능력 지시 및 단말에 구성된 온보딩 네트워크 선택 정보를 바탕으로 적어도 하나의 온보딩 네트워크 중 하나를 선택하는 단계, 그리고 선택된 온보딩 네트워크에 대한 등록을 시도하는 단계를 통해 원격 프로비저닝을 위한 온보딩 절차를 수행하는 단말과, 온보딩 네트워크 내의 AMF 및 SMF가 제공된다.
Family
 
패밀리 특허 목록
Status Patent Country KIPRIS
Registered APPARATUS AND METHOD FOR PERFORMING ONBOARDING PROCEDURE FOR REMOTE PROVISIONING UNITED STATES