ETRI-Knowledge Sharing Plaform

KOREAN
특허 검색
Status Country
Year ~ Keyword

Detail

Registered I/Q 신호 발생 장치 및 이를 이용한 위상 천이 장치

I/Q 신호 발생 장치 및 이를 이용한 위상 천이 장치
이미지 확대
Inventors
박진석, 임준한, 문성모, 이병선, 장동필
Application No.
10-2022-0053411 (2022.04.29) KIPRIS
Publication No.
10-2023-0153696 (2023.11.07)
Registration No.
10-2675358-0000 (2024.06.11)
Country
KOREA
Project Code
21HH1900, Development of Core Technology for Satellite Payload, Chang Dong Pil
Abstract
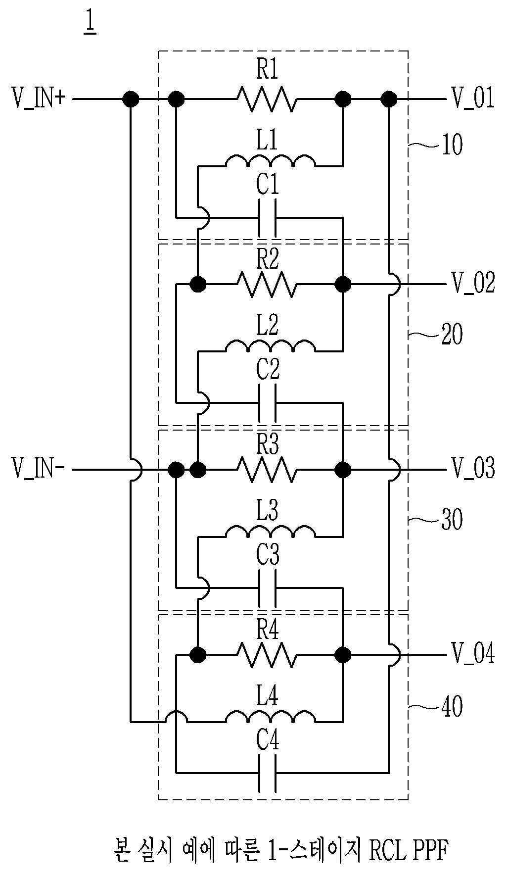
I/Q 신호 발생 장치 및 이를 이용한 위상 천이 장치가 제공된다. I/Q 신호 발생 장치는 일단이 제1 입력 단자에 연결되고 타단이 제1 출력 단자에 연결되는 제1 공진 회로 및 일단이 제1 공진 회로의 타단 또는 제2 입력 단자에 연결되며, 타단이 제2 출력 단자에 연결되는 제2 공진 회로를 포함한다. 제1 공진 회로와 제2 공진 회로는 각각, 저항과, 저항에 병렬로 연결된 캐패시터 그리고 저항과 캐패시터 사이에 크로스 형태로 연결되는 인덕터를 포함한다.
KSP Keywords
In-phase, Phase shift
Family
 
패밀리 특허 목록
Status Patent Country KIPRIS
Registered IN-PHASE/QUADRATURE-PHASE GENERATING DEVICE AND PHASE SHIFT DEVICE USING THE SAME UNITED STATES