Registered
		전자파 간섭 제거 기능을 갖는 수광 소자
	
	
		
		
		
		
			- Inventors
 
			- 
				형창희, 황정환, 권종화
 
		
		
		
					- Application No.
 
					- 
						10-2022-0084295 (2022.07.08)
						
								 KIPRIS
							
						
 
				
			
					- Publication No.
 
					- 
						10-2024-0007425 (2024.01.16)
						
 
				
			
					- Registration No.
 
					- 10-2672313-0000 (2024.05.30)
 
				
			
				- Country
 
				- KOREA
 
			
		
				- Project Code
 
				- 
						22HH4200, Research and development of technologies for utilization of THz frequency band and evaluation of electromagnetic safety,
							Kim Myung Don 
							
 
				
		
				- Abstract
 
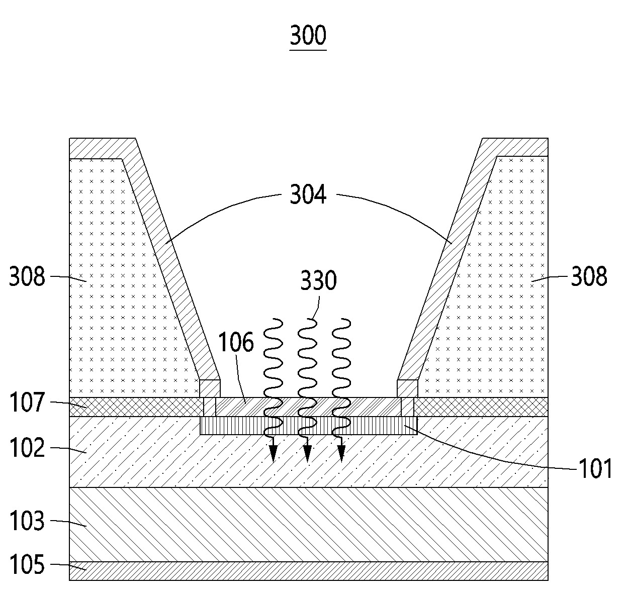
				- 전자파 간섭 제거 기능을 갖는 수광 소자가 개시된다. 다양한 실시예에 따른 수광 소자는 수광 부위에 입사하는 광자 및 고주파 전자파의 진행 방향을 따라 연장되어 수광 부위 둘레를 둘러싸는 도파관 형태의 구조물과, 상기 도파관 형태의 구조물을 고정하는 절연층을 포함할 수 있다.
 
			
		
				- KSP Keywords
 
				- Electromagnetic interference(EMI), Removal function, interference removal