Registered
		자율주행 로봇용 다목적 도킹스테이션
	
	
		
		
		
		
			- Inventors
 
			- 
				이학준, 권우경
 
		
		
		
					- Application No.
 
					- 
						10-2022-0076843 (2022.06.23)
						
 
				
			
					- Registration No.
 
					- 10-2486054-0000 (2023.01.04)
 
				
			
				- Country
 
				- KOREA
 
			
		
				- Project Code
 
				- 
						23ZV1100, Promoting Commercialization of ETRI R&D Performance,
							Ae-Soon Park 
							
 
				
		
				- Abstract
 
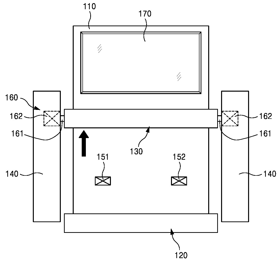
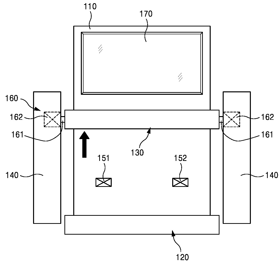
				- 자율주행 로봇용 다목적 도킹스테이션이 개시된다. 본 발명의 자율주행 로봇용 다목적 도킹스테이션은 스테이션 컬럼; 상기 스테이션 컬럼의 일측 하부 영역에 연결되는 고정 스테이션, 및 내장된 모터(motor)의 작용으로 구동하는 복수 개의 주행 휠(driving wheel)을 구비하는 자율주행 로봇이 로딩되면서 도킹되는 장소를 형성하되 상기 자율주행 로봇이 도킹되는 로봇 도킹부를 구비하며, 상기 고정 스테이션의 상부 영역에서 업/다운(up/down) 이동 가능한 가동 스테이션; 상기 가동 스테이션에 연결되며, 상기 가동 스테이션의 업/다운(up/down) 이동을 가이드하는 복수 개의 가이드 프레임들; 상기 가동 스테이션의 일측에서 연장되고 상기 복수 개의 가이드 프레임들 중 하나에 형성되는 이동 궤적 상에서 가이드되면서 이동하는 적어도 하나의 제1 가이드 바; 상기 제1 가이드 바가 연결되는 해당 가이드 프레임에 마련되고 상기 제1 가이드 바를 독립적으로 구동시키는 제1 바 독립 구동모듈;상기 가동 스테이션의 타측에서 연장되고 상기 복수 개의 가이드 프레임들 중 다른 하나에 형성되는 이동 궤적 상에서 가이드되면서 이동하는 적어도 하나의 제2 가이드 바; 및 상기 제2 가이드 바가 연결되는 해당 가이드 프레임에 마련되고 상기 제2 가이드 바를 독립적으로 구동시키는 제2 바 독립 구동모듈을 포함하며, 상기 가동 스테이션은 상기 고정 스테이션의 상부 영역에서 틸팅(tiling)되어 업이 가능하다.
 
			
		
				- KSP Keywords
 
				- Driving wheel, autonomous driving, docking station