23ZV1100, Promoting Commercialization of ETRI R&D Performance,
Ae-Soon Park
Abstract
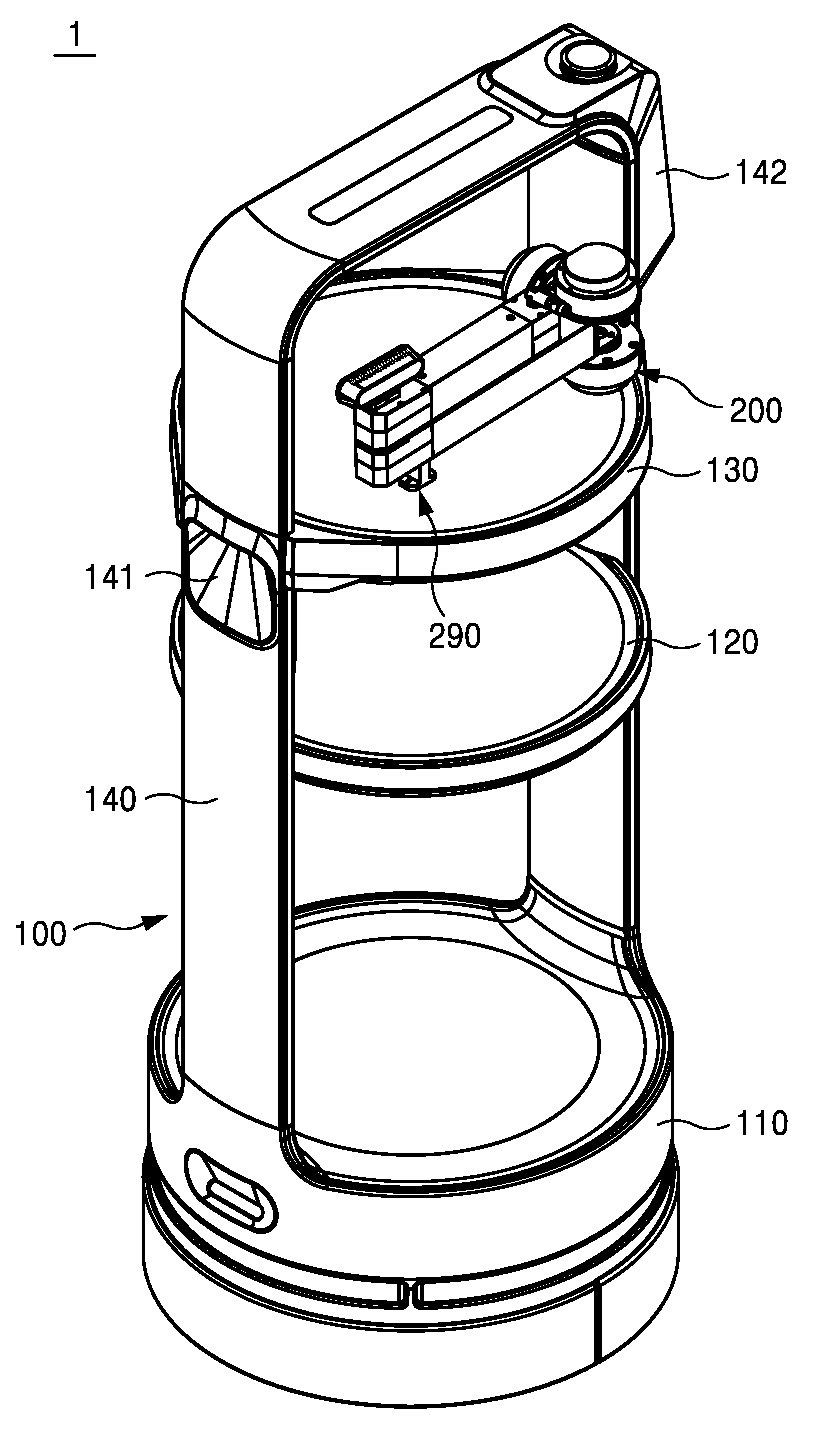
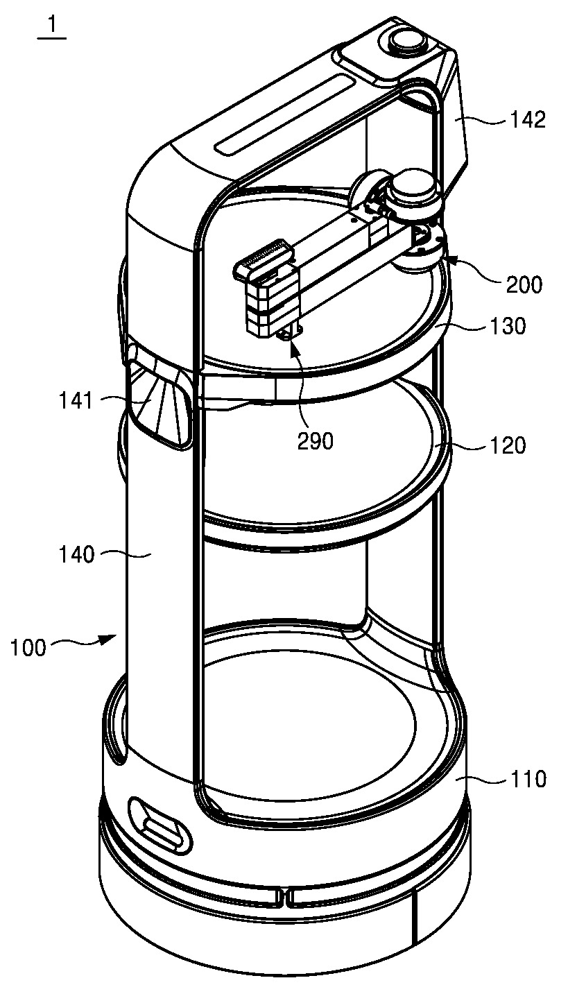
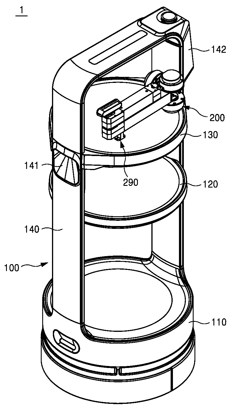
딜리버리 로봇이 개시된다. 본 발명의 딜리버리 로봇은 미리 세팅된 프로그램으로 목적지로 주행 가능한 무인 주행장치; 및 상기 무인 주행장치의 일측에 탑재되며, 상기 무인 주행장치가 복층 건물 내에서 상기 목적지가 있는 층(floor)으로 주행 가능하도록 상기 복층 건물 내의 엘리베이터 버튼을 자동으로 조작하는 소형 로봇 암 장치(robot arm device)를 포함하며, 상기 소형 로봇 암 장치는, 상기 무인 주행장치의 일측에 착탈 가능하게 탑재되는 장치 탑재부; 다(多) 방향으로 위치 이동 가능하게 구동하되 일측이 상기 장치 탑재부에 연결되는 복수 개의 암(arm); 상기 암들의 일측에 결합하며, 상기 엘리베이터 버튼을 가압하는 푸싱 모듈(pushing module); 상기 암들의 타측에 결합하며, 상기 푸싱 모듈이 푸싱할 상기 엘리베이터 버튼의 위치를 감지하는 리얼센스 유닛(realsense unit); 및 상기 장치 탑재부와 상기 암들에 마련되며, 케이블 타입(cable type)으로 상기 암들을 구동시키는 케이블 타입 암 구동부를 포함한다.
KSP Keywords
Robot arm
Copyright Policy
ETRI KSP Copyright Policy
The materials provided on this website are subject to copyrights owned by ETRI and protected by the Copyright Act. Any reproduction, modification, or distribution, in whole or in part, requires the prior explicit approval of ETRI. However, under Article 24.2 of the Copyright Act, the materials may be freely used provided the user complies with the following terms:
The materials to be used must have attached a Korea Open Government License (KOGL) Type 4 symbol, which is similar to CC-BY-NC-ND (Creative Commons Attribution Non-Commercial No Derivatives License). Users are free to use the materials only for non-commercial purposes, provided that original works are properly cited and that no alterations, modifications, or changes to such works is made. This website may contain materials for which ETRI does not hold full copyright or for which ETRI shares copyright in conjunction with other third parties. Without explicit permission, any use of such materials without KOGL indication is strictly prohibited and will constitute an infringement of the copyright of ETRI or of the relevant copyright holders.
J. Kim et. al, "Trends in Lightweight Kernel for Many core Based High-Performance Computing", Electronics and Telecommunications Trends. Vol. 32, No. 4, 2017, KOGL Type 4: Source Indication + Commercial Use Prohibition + Change Prohibition
J. Sim et.al, “the Fourth Industrial Revolution and ICT – IDX Strategy for leading the Fourth Industrial Revolution”, ETRI Insight, 2017, KOGL Type 4: Source Indication + Commercial Use Prohibition + Change Prohibition
If you have any questions or concerns about these terms of use, or if you would like to request permission to use any material on this website, please feel free to contact us
KOGL Type 4:(Source Indication + Commercial Use Prohibition+Change Prohibition)
Contact ETRI, Research Information Service Section
Privacy Policy
ETRI KSP Privacy Policy
ETRI does not collect personal information from external users who access our Knowledge Sharing Platform (KSP). Unathorized automated collection of researcher information from our platform without ETRI's consent is strictly prohibited.
[Researcher Information Disclosure] ETRI publicly shares specific researcher information related to research outcomes, including the researcher's name, department, work email, and work phone number.
※ ETRI does not share employee photographs with external users without the explicit consent of the researcher. If a researcher provides consent, their photograph may be displayed on the KSP.