ETRI-Knowledge Sharing Plaform

KOREAN
특허 검색
Status Country
Year ~ Keyword

Detail

Registered 냉온 음료 보관 선반 및 이의 동작 방법

냉온 음료 보관 선반 및 이의 동작 방법
이미지 확대
Inventors
이학준, 권우경, 곽인범
Application No.
10-2022-0076844 (2022.06.23)
Registration No.
10-2486429-0000 (2023.01.04)
Country
KOREA
Project Code
23ZV1100, Promoting Commercialization of ETRI R&D Performance, Ae-Soon Park
Abstract
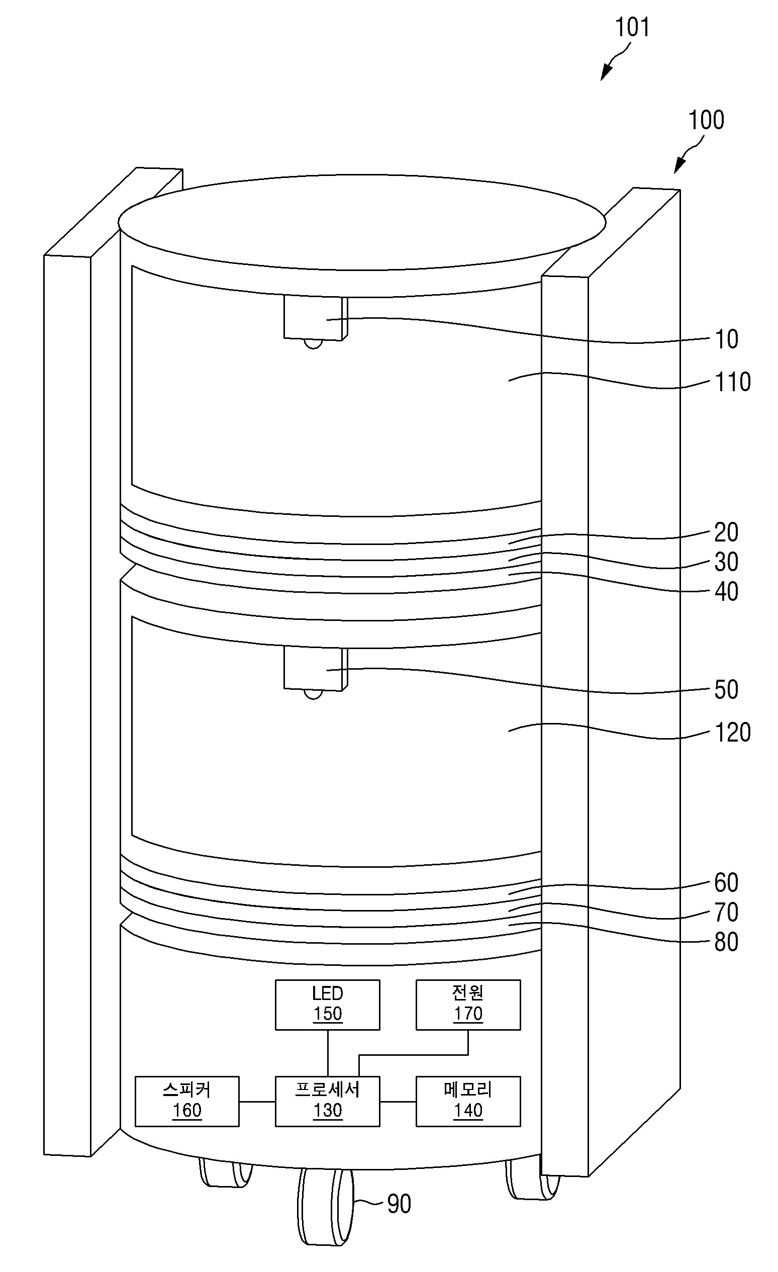
냉온 음료 보관 선반이 개시된다. 상기 냉온 음료 보관 선반은 적어도 1개 이상의 음료가 삽입될 수 있는 홀더를 포함하는 제1트레이, 적어도 1개 이상의 음료가 삽입될 수 있는 홀더를 포함하는 제2트레이, 상기 제1트레이의 바닥에 구현된 제1열전소자 모듈, 상기 제2트레이의 바닥에 구현된 제2열전소자 모듈, 상기 제1트레이를 위에서 촬영하여 제1탑 뷰 이미지를 생성하는 제1카메라, 상기 제2트레이를 위에서 촬영하여 제2탑 뷰 이미지를 생성하는 제2카메라, 및 상기 생성된 제1탑 뷰 이미지, 또는 상기 생성된 제2탑 뷰 이미지를 분석하여 상기 제1열전소자 모듈, 또는 상기 제2열전소자 모듈에서 특정 방향으로 전류가 흐르도록 전원을 제어하는 프로세서를 포함한다. 상기 제1트레이는 차가운 음료를 보관하기 위한 트레이이며, 상기 제2트레이는 따뜻한 음료를 보관하기 위한 트레이이다. 상기 프로세서는 상기 생성된 제1탑 뷰 이미지, 또는 상기 생성된 제2탑 뷰 이미지를 신경망에 적용하여 상기 제1트레이에 포함된 음료와 상기 제2트레이에 포함된 음료가 차가운 음료인지 따뜻한 음료인지 구분하고, 상기 제1트레이에 상기 따뜻한 음료와 상기 차가운 음료가 동시에 존재하거나, 상기 제2트레이에 상기 따뜻한 음료와 상기 차가운 음료가 동시에 존재할 때, 상기 프로세서는 상기 음료가 잘못 싣렸음을 나타내기 위해 LED, 또는 스피커를 제어한다.
KSP Keywords
Operation method