20HB2900, Development of Millimeter Wave 5G Components Using Compound Semiconductor Process,
Dong Min Kang
Abstract
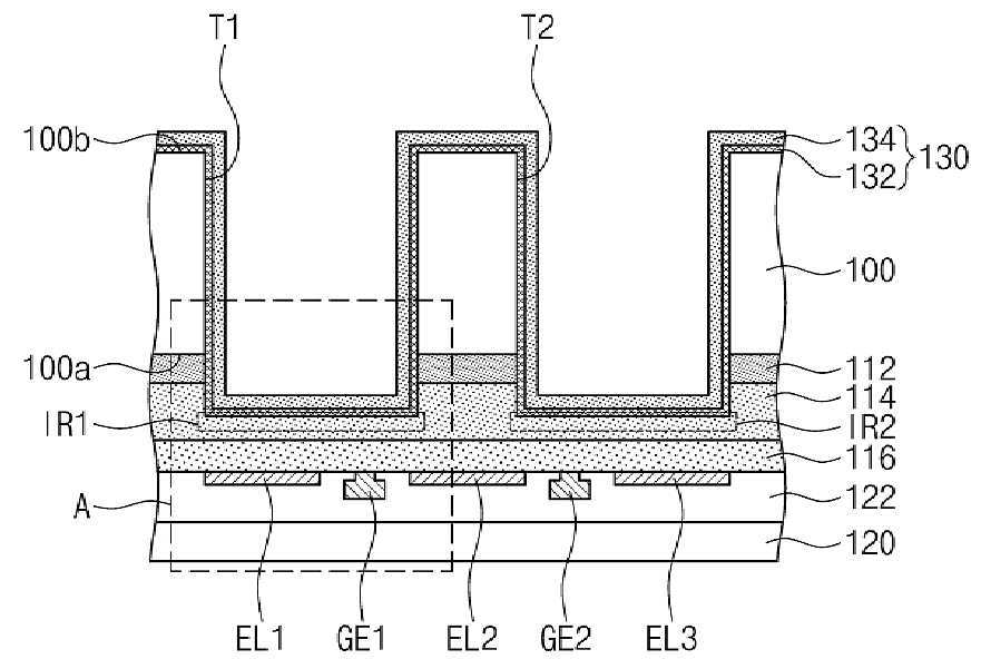
전력 반도체 소자가 제공된다. 본 발명의 실시예들에 따른 전력 반도체 소자는 기판; 상기 기판의 하면 상의 베리어층; 상기 베리어층의 하면 상의 오믹 전극들; 상기 기판과 상기 베리어층 사이의 버퍼층; 및 상기 기판의 상면 및 상기 기판의 상면으로부터 리세스된 트렌치의 내부 표면을 덮는 도전막을 포함하되, 상기 도전막의 하면은 상기 버퍼층의 상면 및 상기 버퍼층의 하면의 사이에 위치하고, 상기 버퍼층은 상기 도전막의 상기 하면과 인접하게 형성된 불순물 영역을 가질 수 있다.
KSP Keywords
Power semiconductor, power semiconductor devices, semiconductor device
Copyright Policy
ETRI KSP Copyright Policy
The materials provided on this website are subject to copyrights owned by ETRI and protected by the Copyright Act. Any reproduction, modification, or distribution, in whole or in part, requires the prior explicit approval of ETRI. However, under Article 24.2 of the Copyright Act, the materials may be freely used provided the user complies with the following terms:
The materials to be used must have attached a Korea Open Government License (KOGL) Type 4 symbol, which is similar to CC-BY-NC-ND (Creative Commons Attribution Non-Commercial No Derivatives License). Users are free to use the materials only for non-commercial purposes, provided that original works are properly cited and that no alterations, modifications, or changes to such works is made. This website may contain materials for which ETRI does not hold full copyright or for which ETRI shares copyright in conjunction with other third parties. Without explicit permission, any use of such materials without KOGL indication is strictly prohibited and will constitute an infringement of the copyright of ETRI or of the relevant copyright holders.
J. Kim et. al, "Trends in Lightweight Kernel for Many core Based High-Performance Computing", Electronics and Telecommunications Trends. Vol. 32, No. 4, 2017, KOGL Type 4: Source Indication + Commercial Use Prohibition + Change Prohibition
J. Sim et.al, “the Fourth Industrial Revolution and ICT – IDX Strategy for leading the Fourth Industrial Revolution”, ETRI Insight, 2017, KOGL Type 4: Source Indication + Commercial Use Prohibition + Change Prohibition
If you have any questions or concerns about these terms of use, or if you would like to request permission to use any material on this website, please feel free to contact us
KOGL Type 4:(Source Indication + Commercial Use Prohibition+Change Prohibition)
Contact ETRI, Research Information Service Section
Privacy Policy
ETRI KSP Privacy Policy
ETRI does not collect personal information from external users who access our Knowledge Sharing Platform (KSP). Unathorized automated collection of researcher information from our platform without ETRI's consent is strictly prohibited.
[Researcher Information Disclosure] ETRI publicly shares specific researcher information related to research outcomes, including the researcher's name, department, work email, and work phone number.
※ ETRI does not share employee photographs with external users without the explicit consent of the researcher. If a researcher provides consent, their photograph may be displayed on the KSP.