ETRI-Knowledge Sharing Plaform

KOREAN
특허 검색
Status Country
Year ~ Keyword

Detail

Registered 반도체 소자, 표시 패널, 및 그들을 포함하는 표시 장치

반도체 소자, 표시 패널, 및 그들을 포함하는 표시 장치
이미지 확대
Inventors
양종헌, 조성목, 조성행, 강승열, 최지훈, 오힘찬, 피재은, 나제호, 김용해, 문제현, 박찬우, 황치선, 김희옥
Application No.
10-2022-0110739 (2022.09.01) KIPRIS
Publication No.
10-2023-0040273 (2023.03.22)
Registration No.
10-2521257-0000 (2023.04.10)
Country
KOREA
Project Code
21JB2800, Technologies development of core materials for ultra high resolution / highly flexible display backplane., Hwang Chi-Sun
Abstract
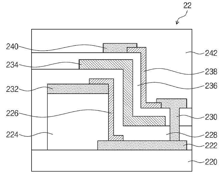
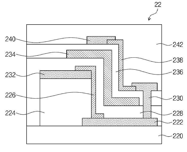
본 발명은 반도체 소자, 표시 패널, 및 그들을 포함하는 표시 장치를 개시한다. 그의 소자는 기판의 일측 상의 하부 전극과, 상기 기판의 타측 상의 스페이서와, 상기 스페이서 상의 중부 전극과, 상기 스페이서의 측벽, 상기 중부 전극, 및 상기 하부 전극의 일부 상의 하부 채널 층과, 상기 하부 채널 층 상의 하부 게이트 절연 층과, 상기 게이트 절연 층 상의 공통 게이트 전극과, 상기 공통 게이트 전극 상의 상부 게이트 절연 층과, 상기 스페이서 및 상기 중부 전극의 상기 상부 게이트 절연 층 상의 상부 전극과, 상기 상부 전극에 연결되고, 상기 상부 게이트 절연 층의 측벽 상에 배치된 상부 채널 층과, 상기 상부 채널 층의 일부에 연결되고, 상기 공통 게이트 전극 외곽의 상기 하부 게이트 절연 층 및 상기 상부 게이트 절연 층을 관통하여 상기 하부 전극에 연결되는 콘택 전극을 포함한다.
KSP Keywords
Display Panel, Display device, semiconductor device
Family
 
패밀리 특허 목록
Status Patent Country KIPRIS
Registered SEMICONDUCTOR DEVICE, DISPLAY PANEL, AND DISPLAY DEVICE INCLUDING THE SAME UNITED STATES